2n7002場效應管參數,2n7002引腳圖,資料-KIA MOS管
信息來源:本站 日期:2025-09-19
2N7002主要參數:
電氣特性
漏源電壓(Vds):60V(最大值)
連續漏極電流(Id):115mA(典型值)
柵源閾值電壓(Vgs th):1V至2.5V(測試條件250pA)
導通電阻(Rds on):1.2Ω(最小值)至7.5Ω(最大值),具體取決于測試條件(如Vgs=10V時典型值為5Ω)
最大功率耗散(Pd):200-350mW(與封裝散熱條件相關)。
2N7002特性:
高密度電池設計,低RDS(ON)
電壓控制小信號開關
堅固可靠
高飽和電流能力
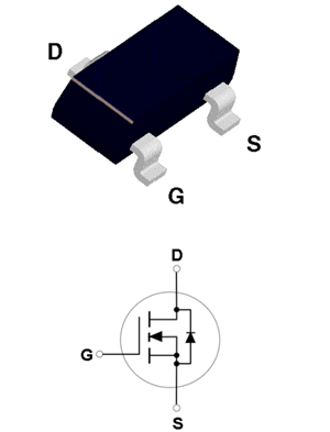
2n7002引腳圖
2n7002電路圖
2n7002詳細參數
晶體管極性: N-Channel
通道數量: 1 Channel
晶體管類型: 1 N-Channel
正向跨導-最小值: 0.08 S
Vds-漏源極擊穿電壓: 60V
Id-連續漏極電流: 115mA
Rds On-漏源導通電阻: 1.2Ohms
Vgs - 柵極-源極電壓: - 20 V, + 20 V
最小工作溫度: - 55°C
最大工作溫度: + 150°C
Pd-功率耗散: 200 mW
封裝: SOT-23-3
高度: 1.2 mm
長度: 2.9 mm
寬度: 1.3 mm
單位重量: 31 mg
聯系方式:鄒先生
座機:0755-83888366-8022
手機:18123972950(微信同號)
QQ:2880195519
聯系地址:深圳市龍華區英泰科匯廣場2棟1902
搜索微信公眾號:“KIA半導體”或掃碼關注官方微信公眾號
關注官方微信公眾號:提供 MOS管 技術支持
免責聲明:網站部分圖文來源其它出處,如有侵權請聯系刪除。
