c945參數與管腳圖,c945引腳圖功能-KIA MOS管
信息來源:本站 日期:2024-03-27
C945是常用的小功率NPN型晶體管,封裝形式為TO-92,可以驅動的最大負載約為150mA,可以用于如放大、開關、穩壓等電路中。
c945電氣參數:
集電極-發射極電壓VCEO:50V
集電極-基極電壓VCBO:60V
發射極-基極電壓VEBO:5V
集電極電流Ic:100mA
基極電流IB:20mA
集電極發射極飽和電壓VCE(sat):0.15V
耗散功率TA =25℃ PD:250mW
操作和存儲結溫范圍 TJ,Tstg:-55 - 150℃
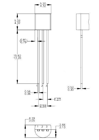
c945引腳圖尺寸
C945的引腳分別為基極(B)、集電極(C)和發射極(E),其中集電極為正極,發射極為負極。
當基極電流為零時,C945處于截止狀態,此時集電極和發射極之間的電阻很大,近似于開路。
當基極加上正向電流時,C945進入放大狀態,此時集電極和發射極之間的電阻大大降低,可以輸出較大的電流,實現信號放大。
當基極加上反向電流時,C945進入飽和狀態,此時集電極和發射極之間的電阻很小,近似于短路,可以用于開關電路。
聯系方式:鄒先生
聯系電話:0755-83888366-8022
手機:18123972950(微信同號)
QQ:2880195519
聯系地址:深圳市福田區金田路3037號金中環國際商務大廈2109
請搜微信公眾號:“KIA半導體”或掃一掃下圖“關注”官方微信公眾號
請“關注”官方微信公眾號:提供 MOS管 技術幫助
免責聲明:本網站部分文章或圖片來源其它出處,如有侵權,請聯系刪除。
